Transfer- und Innovationsmanagement der Hochschule erhält Förderung
(LR) Das Transfer- und Innovationsmanagement der Hochschule Osnabrück hat eine Förderung von mehr als 350.000 Euro erhalten. Es beantragt für aussichtsreiche Erfindungen aus Hochschule und Universität Patente, Marken,- Design- und Urheberrechte. Aktuell bearbeitet es laut der Hochschule etwa 50 aktive Schutzrechte. Mit der Förderung möchte das Transfer- und Innovationsmanagement unter anderem das sogenannte IP-Scouting starten. Damit sollen neue Ideen und Forschungen gefunden werden, um für sie Patente zu beantragen und sie marktfähig zu machen. Außerdem soll es ein digitales Informations- und eLearning-Angebot sowie Workshops für Wissenschaftler und Studenten rund um das Thema IP geben. Die Hochschule hat die Förderung durch das Programm zukunft.niedersachsen über eine Laufzeit von fünf Jahren erhalten.
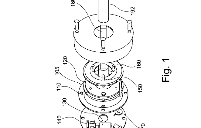
Bildunterschrift: Die patentierte Erfindung DE 102018110203A1 „Türdrückergarnitur“, von Prof. Johannes Nehls von der Hochschule Osnabrück, übermittelt Informationen über den hinter der Tür befindlichen Raum für den Auf- und Schließvorgang. Über eine Magnetkupp-lung mit Spule und Rotor, der mit dem Stift des Türdrückers verbunden ist, nimmt ein Mikro-controller Sensordaten auf und steuert den Stromfluss. Auf diese Weise kann der Andruckwi-derstand erhöht werden und Personen, die einen Raum betreten wollen, zum Beispiel an Desinfektionsmaßnahmen, das Tragen von Schutzkleidung, Prüfungen oder Besprechungen erinnern. Das System kann problemlos in bestehende Türsysteme eingesetzt und je nach Anforderung als Hygiene-, Arbeitssicherheits- oder allgemeines Zugangskonzept genutzt werden. (Foto: Hochschule Osnabrück)
Foto: Hochschule Osnabrück